
6
ПАНЕЛЬ УПРАВЛЕНИЯ
AR-5012
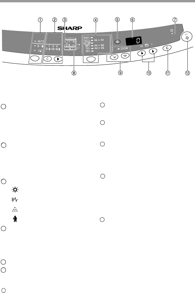
Кнопка и индикаторы выбора
режима экспонирования
Используются для последовательного
выбора режима экспозиции:
АВТОМАТИЧЕСКИЙ, РУЧНОЙ или
ФОТО. Выбранный режим
указывается загоревшимся
индикатором.(стр. 15)
Кнопки и индикаторы Светлее и
Те м н ее
Используются для регулировки
экспозиции в режиме РУЧНОЙ или ФОТО.
Выбранный уровень указывается
загоревшимся индикатором.(стр. 15)
.
Активизируют и отключают программы
пользователя. (стр. 19)
Предупреждающие индикаторы
Индикатор необходимости
замены проявителя (стр. 31)
Индикатор застревания (стр. 28)
Индикатор замены картриджа
тонера (стр. 21)
Индикатор вызова специалиста
сервисной службы (стр. 31)
Кнопка и индикаторы выбора
фиксированного масштаба копий
Используются для последовательного
выбора фиксированных масштабов
уменьшения/увеличения. Выбранное
значение масштаба указывается
загоревшимся индикатором. (стр. 17)
Кнопка дисплея масштаба
копирования (%) (стр. 17)
Дисплей
Показывает данные о количестве
копий, масштабе, номере программы
пользователя и коде ошибки.
Индикатор энергосберегающего
режима
Загорается при переключении
аппарата в энергосберегающий
режим. (стр. 18 и 19)
1
1
2
2
3
3
4
4
5
5
6
6
7
Индикаторы устройства подачи
бумаги
Загораются, указывая на устройство,
из которого подается бумага.
Кнопки и индикатор МАСШТАБ
Используются для выбора любого
масштаба копий в интервале от 25%
до 400% с шагом в 1%. (стр. 17)
Кнопки установки количества
копий
•Используются для выбора нужного
тиража копий (от 1 до 99). (стр. 15)
• Используются для установок
параметров программ
пользователя. (стр. 19)
Кнопка сброса
• Для сброса значений на дисплее
или для завершения операции во
время копирования. (стр. 15)
• Нажимается и удерживается в
режиме готовности "standby" для
демонстрации общего количества
копий, изготовленных на данный
момент времени. (стр. 20)
Кнопка и индикатор Старт
•При загоревшемся индикаторе
возможна операция копирования.
• Нажатием на кнопку начинается
копирование.
• Используются для установки
программ пользователя. (стр. 19)
8
9
10
11
12
Commenti su questo manuale