
27
Dimension: 140 X 215 mm
Set Up (Continued)
H Channel Setting
If EZ SETUP does not memorize all the channels in your region, follow the instructions below
to manually memorize the channel.
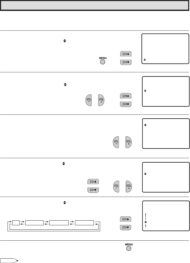
1 Press MENU to access the MAIN MENU screen.
2 Press CH a/ s to move the “ ” mark to “SET UP”.
3 Press VOL k/l to access the SET UP screen.
4 Press CH a/ s to move the “ ” mark to “CH SETTING”.
5 Press VOL k/l to access the CH SETTING screen.
6 Press CH a/ s to move the “ ” mark to “AIR/CABLE”, then press
VOL k/l to access the AIR/CABLE screen.
7 Press CH a/ s to move the “ ” mark to the desired mode.
8 Press MENU to exit.
Note:
• Receivable channels of your TV set are:
AIR channels: CABLE channels:
VHF: 2 through 13. 1 (HRC and IRC mode only)
UHF: 14 through 69. 2 through 125 (STD, HRC and IRC)
(MAIN MENU screen)
(CH SETTING screen)
(SET UP screen)
(AIR/CABLE screen)
→
→
→
AIR
CABLE STD
CABLE HRC
CABLE IRC
27C241 27
SL EP
SET UP
ETIERM
VIDEO ADJUST
CAPT IONCLOSED
CONTROLPARENT
ENERGY SAVE
AUDIO SELECT
LA
BL E NSCREE
NGUAGE
U
CH SETT ING
H SEARCH
EZ SETUP
AI /CABLER
C
HMEMORYC
H SEARCH
EZ SETUP
AI /CABLER
C
HMEMORYC
AI
ABLE STD
R
AI /CABLER
C
ABLE HRCC
ABLE IRCC
Commenti su questo manuale