Many
Manuals
search
Categorie
Marchi
Home
Sharp
Fornelli
JB960
Specifiche
Sharp JB960 Specifiche Pagina 37
Scaricare
Condividere
Condivisione
Aggiungi ai miei manuali
Stampa
Pagina
/
39
Indice
SEGNALIBRI
Valutato
.
/ 5. Basato su
recensioni clienti
1
2
3
4
5
6
7
8
9
10
11
12
13
14
15
16
17
18
19
20
21
22
23
24
25
26
27
28
29
30
31
32
33
34
35
36
37
38
39
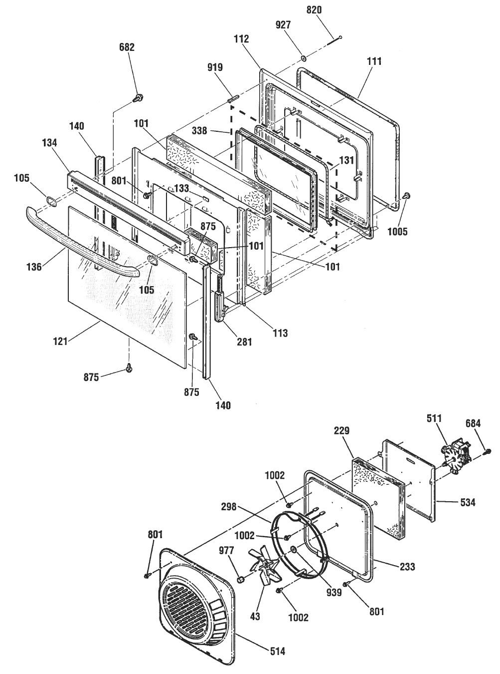
– 35 –
Exploded P
arts
View
JB960AB1AA
1
2
...
32
33
34
35
36
37
38
39
TECHNICAL SERVICE GUIDE
1
IMPORTANT SAFETY NOTICE
2
Table of Contents
3
TrueTemp
4
COOKTOP CONFIGURATION
6
GE Profile Performance Series
7
GE Profile
7
Acceptable electrical
8
Preferred electrical
8
Roughed-in dimensions
8
Warranty Information
10
(in inches)
10
Using the convection oven
11
Convection roasting guide
13
Cleaning the glass cooktop
14
Using the self-cleaning oven
14
LOWER HINGE ARM
15
INTO HINGE SLOT
15
COOKTOP REMOVAL
16
HIDDEN BAKE ELEMENT
17
INSULATION
18
NOTE: TWO LOCATOR
19
TAB SLOTS
19
BACK OF RANGE WITH ELECTRICAL
20
SHIELD AND LAMP SOCKET COVER
20
OVEN LINER REINSTALLATION
21
CONTROL PANEL
22
< 1 Ω
23
ERC V SPECIAL FEATURES
24
ERC FAULT CODE MEMORY TEST
26
ERC FAULT CODE MEMORY DISPLAY
26
ERC FAILURE CODES
27
ERC ON BOARD DIAGNOSTIC TESTS
28
NUMERIC KEY PADS TEST
29
ENERGIZE OVEN LIGHT CIRCUIT
29
LOCK MOTOR CYCLE TEST
30
TrueTemp™
31
RR-BR & LR-O
32
RF-BU•TR & LF-Y•TR
32
LF (BRIDGE) & RF (OUTER)
32
STRIP CIRCUITS
33
VOLTAGE SENSITIVE
34
Exploded Parts View
36
JB960AB1AA
36
EXPLODED PARTS BREAKDOWN
39
Commenti su questo manuale
Nessun commento
Publish
Stampa documento
Stampa pagina 37
Commenti su questo manuale