Sharp AR-810 Manuale Utente Pagina 8

  • Scaricare
  • Aggiungi ai miei manuali
  • Stampa
  • Pagina
    / 101
  • Indice
  • SEGNALIBRI
  • Valutato. / 5. Basato su recensioni clienti
Vedere la pagina 7
AR-651/810 TROUBLE SHOOTING 5 - 8
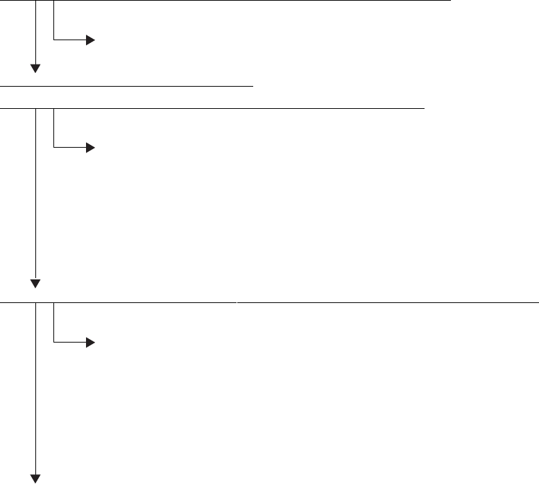
[E24] Paper fed from the 2nd cassette not reading the 2nd cassette transport sensor
[E32] Paper fed from the 3rd cassette not reaching the 2nd cassette transport sensor
[E35] Paper fed from the 4th cassette not reaching the 2nd cassette transport sensor
[E3E] Paper fed from the tandem LCF not reaching the 2nd cassette transport sensor
Open the feed cover. Is there paper in front of the 2nd cassette transport sensor?
YES
Remove the paper.
NO
Is the 2nd cassette transport sensor working?
(Perform the input check in the test mode: 03-[ENERGY SAVER]OFF/[3]/[B])
NO
1. Check if the connector of the 2nd cassette transpor t sensor is disconnected.
2. Check if the connector J328,329,350 on the LGC board is disconnected.
3. Check if the connector pins are disconnected and the harnesses are open-circuited.
4. Check if the conductor pattern on the LGC board is shor t- or open-circuited.
5. Replace the 2nd cassette transport sensor.
6. Replace the LGC board.
YES
Are the transport clutches working? (Perform the output check in the test mode: 03-203, 210, 226)
NO
1. Check if the connectors of the transpor t clutches are disconnected.
2. Check if the connector J328, 329, 350 on the LGC board is disconnected.
3. Check if the connector pins are disconnected and the harnesses are open-circuited.
4. Check if the conductor pattern on the LGC board is shor t- or open-circuited.
5. Replace the transport clutches.
6. Replace the LGC board.
YES
Check the transport roller. Replace it if it is worn out.
Vedere la pagina 7
1 2 3 4 5 6 7 8 9 10 11 12 13 ... 100 101

Commenti su questo manuale

Nessun commento