
7-10
Chapter 7: Computer Link Function
7
(2) Message transfer
In the message transfer operation, the JW-50FL sends data non-cyclically.
Normally, when a request to send occurs, the FL-net will communicate with a certain node.
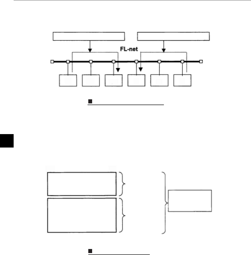
Example of a message transfer
[4] Transfer data volume
(1) Cyclic transfer
In a cyclic transfer, the FL-net has an 8 K bits + 8 K words = 8.5 K word transfer area.
The maximum amount of data that can be transferred cyclically at one time by one node is 8.5 K
words.
One word = 2 bytes.
Cyclic transfer data limit
Transfer message from node 1 to 3
Transfer message from node 6 to 4
123456
Area 1
Area 2
8 K bit
8 K word
Common
memory area
2
15
2
0
Commenti su questo manuale