
Step 4
BO14
● Parts Needed For ●
Roof Channel
Assembly
14
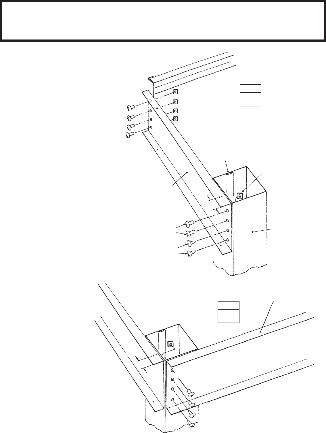
Get help holding post in place while
attaching the roof channel.
1 Position a roof channel, with small
hole 1 1/8" (2,9 cm) from end at left
post, and fasten to channel brace us-
ing four #10-32x 7/16" (11 mm) bolts
and square nuts. Fasten other end to
the top end of the left post, noting
location of lock seam, using two #10-
32x7/16" (11 mm) bolts and square
nuts, and two #10Ax3/8" (10 mm)
screws.
2 Fasten a front roof channel, with
most holes in flange on top, to the front
of left post, using the same fasteners,
with opposite end overlapping right
post, fasten as before. Brace center of
unit with 2x4's (38 mm x 89 mm) as
shown.
3 Repeat procedure with next roof
channel, as done in Step 1 to right
post and channel brace.
●●
●●
● 9656 Roof Channel (two)
●●
●●
● Post Assemblies (two)
● ●
● ●
● 9733 Front Roof Channel (one)
9733
1 1/8"
(2,9 cm)
Lock Seam
Most Holes in Flange on Top
9661 Left Post
#10-32 Square Nut
9656
STEP
1
STEP
2
#10Ax3/8"
(10 mm) Screw
#10-32x7/16"
(11 mm) Bolt
1 1/8"
(2,9 cm)
Commenti su questo manuale